Кто такие такелажники: вам это будет интересно
К такелажным работам относятся погрузка, перевозка и разгрузка тяжелых крупногабаритных грузов и оборудования. Это ответственная и сложная работа, требующая высокой профессиональной подготовки. Даже малейшая ошибка при перевозке может привести к серьезным проблемам, особенно в случае перевозки высокотехнологического оборудования.
Такелажник: больше, чем грузчик
Первыми такелажниками были матросы, которые служили на парусных судах. В то время под такелажем подразумевались паруса, ванты и прочие части парусного корабля. А кто такие такелажники современности? Сегодня такелажниками называют специалистов по транспортировке крупнотоннажных грузов.
Такелажники – это вовсе не грузчики, как можно подумать. Это хорошо подготовленные специалисты, которым можно доверить транспортировку даже самых капризных в обращении грузов. Они бережно погрузят оборудование на платформу, доставят груз в место назначения и затем произведут разгрузочные работы. Некоторые специалисты по такелажу могут смонтировать привезенное оборудование, если таково условие заказчика.
Такелажные работы: особенности
Какими навыками должен обладать современный такелажник? Понятное дело, что одними командами «майна» и «вира» здесь ограничиться нельзя. Работа такелажника настолько сложна, что непосвященный вряд ли разберется во всех ее нюансах. К примеру, такелажник должен так подобрать такелаж, чтобы все этапы перевозки прошли без заминок.
В случае перевозки крупногабаритных грузов нужно учитывать ширину дорог, радиус поворотов, высоту мостов и дорожных эстакад, и многое другое. При этом для каждого вида грузов должна подбираться соответствующая оснастка. Расчет оснастки – очень сложное дело и малейшая ошибка может привести к повреждению груза. Если, к примеру, во время разгрузки порвутся тросы подъемного крана, это приведет к катастрофическим последствиям не только для груза, но и для монтажников, работающих на площадке.
Помимо перевозки такелажники часто производят демонтаж оборудование. Это означает, что специалист по такелажным работам должен уметь работать с чертежами и иной технической документацией. Произвести разбор производственной линии – крайне нелегкий процесс.
Все части оборудования необходимо правильно пометить – это требуется не только для того, чтобы все части линии доехали до места назначения в целости и сохранности, но и для того, чтобы можно было быстро заново смонтировать оборудование в другом месте. Найти профессиональных такелажников сегодня достаточно сложно, так как высококлассных специалистов сегодня немного, и они очень востребованы на рынке труда.
Посетите наш портал. Для вас подобрано много интересных обзоров и боле миллиона вакансий ежедневно!
Такелажные работы в строительстве

Как известно, такелажные работы – это те, которые связаны с перемещением, как внутри данного предприятия, так и на более дальние расстояния крупных объектов, обладающих крупными габаритами и тяжелым весом. Чтобы проводить такого вида работу необходимо наличие специализированных навыков и знаний, специальное оборудование, различные приспособления и техника специального назначения.
Крепежные изделия и разные средства, которые используют с грузоподъемной техникой для перевозки и подъема тяжелых грузов – это такелаж. В большинстве случаев услуги такого типа не требуют обязательного наличия специальных лицензий и разрешений. Но в некоторых сложных проектах их выполняют параллельно со строительными работами.

Во многих случаях при проведении такелажных работ есть необходимость в отключении или подключении электрической сети, монтаже и демонтаже оборудования, сносе стен, расширении оконных или дверных проемов, разборе строения по причине крупных габаритов и тяжести оборудования, нюансов его транспортировки. По этой причине в штатах такелажных компаний очень часто есть профессиональные электрики и строители, обладающие сертификатами и лицензиями на свою деятельность.
Специальная техника и оборудование, которое применяется при такелажных работах, способно работать с грузами весом от 200 до 350 тонн, и тоже имеет весь пакет соответствующих сертификатов и разрешений.
На этом у меня все, надеюсь было полезно и интересно, пока.
Такелажные работы, машины, оборудование и оснастка;
Такелажными работами, которые широко используются при ремонте теплотехнического оборудования, называют горизонтальные и вертикальные перемещения оборудования, выполняемые специальными грузоподъемными устройствами (такелажем).
При такелажных работах используют разнообразное оборудование: лебедки, блоки, полиспасты, домкраты, тали, краны, а также различную оснастку: канаты, стропы, коуши, зажимы, талрепы.
Лебедка служит для преобразования сравнительно небольших вращающих моментов на приводном валу в большие на ее барабане, за счет уменьшения частоты вращения барабана по сравнению с частотой вращения приводного вала (рукоятки). Чем больше вращающий момент на барабане, тем больше тяговое усилие на канате, навиваемом на барабан, и, следовательно, тем больше грузоподъемность.
Лебедка состоит из барабана, редуктора, привода и станины (рамы). Барабан лебедки соединяют с приводом зубчатой, червячной или ременной передачей. В зависимости от назначения лебедки изготовляют различной грузоподъемности. В системе редуктора имеется тормозное устройство, препятствующее самопроизвольному опусканию груза. Лебедки подразделяют на ручные и приводные.
При небольшом объеме такелажных работ, а также для вспомогательных операций (оттяжка грузов, натяжение расчалок и др.) применяют ручные лебедки.
Ручные лебедки оборудуются автоматически действующими тормозами, которые обеспечивают торможение барабана при спуске груза, а также мгновенную остановку его, когда рабочий внезапно выпустит рукоятку лебедки из рук.
Лебедки с электрическим приводом (рис. 2.6) изготовляют с зубчатыми редукторами 3, 4 передачи вращения от вала электродвигателя 5 к барабану 2.Эти лебедки имеют электромагнитные тормоза 6, действующие при выключении тока. Работа лебедок с электроприводом на одних ручных 8 или ножных тормозах запрещается.
Рис. 2.6. Лебедка с электрическим приводом:
1 – рама, 2 – барабан с тросом, 3, 4 – редукторы, 5 – электродвигатель,
6 – электромагнит тормозного устройства, 7– контроллер, 8 – ручной тормоз
Электрические лебедки грузоподъемностью 0,5; 1,5; 3 и 5 т широко используют на ремонтных площадках как самостоятельный механизм для тягового усилия полиспастов, а также на кранах, лифтах, подъемниках.
Блоки служат для изменения направления и уменьшения тягового усилия, необходимого для перемещения или подъема груза (рис. 2.7). Они состоят из желобчатого ролика 3,его оси 7, обойм 6 и крюка 1.Максимальная грузоподъемность блока указывается заводом на его крюке 1 или серьге 9.
Рис. 2.7. Блоки для стальных канатов:
а – полиспастный однороликовый, б – отводной с отъемным крюком;
1 – крюк, 2 – траверса, 3 – ролик, 4 – ушко, 5 – ось ушка, 6 – обойма,
7 – ось ролика, 8 – стяжной болт, 9 – серьга, 10 – гайка крюка, 11 – шип траверсы полиспастного ролика, 12 – откидная петля, 13 – шип траверсы с замком, 14 – ось откидной петли.
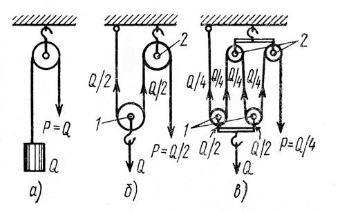
Один неподвижный блок не дает какого-либо выигрыша в силе или во времени, однако он позволяет изменить направление приложенного к канату усилия. Например, при подъеме груза вверх (рис. 2.8)блок позволяет тянуть канат вниз, что значительно упрощает работу. При этом тяговое усилие Р равняется массе поднимаемого груза Q.
Рис. 2.8. Схемы подъема груза с одним неподвижным блоком (а) c двумя и четырьмя роликовыми полиспастами (б, в):
1, 2 – подвижный и неподвижный блоки.
Для уменьшения тягового усилия Р при перемещении больших грузов Q широко применяют полиспасты, представляющие собой соединение с помощью каната двух однороликовых или многороликовых блоков. Принцип действия полиспастов заключается в уменьшении тягового усилия Р, необходимого для поднятия груза Q на высоту h за счет увеличения пути l (длины) вытягиваемого каната.
Соединение подвижного 1 и неподвижного 2 однороликовых блоков канатом по схеме рис.2.8, б распределяет массу груза Q на две ветви каната (тяговый конец каната не учитывается) и тяговое усилие Р будет в 2 раза меньше массы поднимаемого груза Q, а длина (путь) вытягиваемого каната в 2 раза больше высоты, на которую поднимается этот груз.
Соединение двух (подвижного 1 и неподвижного 2)двухроликовых блоков по схеме рис. 2.8, в снижает тяговое усилие Р в 4 раза, а длина (путь) вытягиваемого каната увеличивается в 4 раза по сравнению с высотой, на которую поднимается этот груз.
В общем случае тяговое усилие P = Q / n,а путь (длина вытягиваемого каната) l = hn (где п – суммарное число роликов в подвижном и неподвижном блоках или число рабочих ветвей каната).
В применяемых для монтажных и ремонтных работ полиспастах тяговый конец каната всегда сбегает с ролика неподвижного блока. Другой конец каната прикрепляется к ушку неподвижного блока, если число ниток полиспаста или суммарное число роликов подвижного и неподвижного блоков четное, или к ушку подвижного блока, если число ниток нечетное.
Таль представляет собой самостоятельный механизм, который изготовляется грузоподъемностью от 0,25 до 3 т. Тали грузоподъемностью более 3 т очень тяжелы и применяются крайне редко.
Таль с ручным приводом имеет червячную, шестеренчатую или рычажную передачу (рис. 2.9, а – в)и служит для подъема грузов на высоту до 3 м.
Рис. 2.9. Червячная (а), шестеренчатая (б) и рычажная (в)тали:
1, 5 – грузовой крюк для подвешивания тали, 2, 6 – звездочка крюка и ведущая звездочка, 3, 8 – грузовая и тяговая цепи, 4 – приводной механизм, 7 – приводное (тяговое) колесо, 9 – рычаг
От червячных тали с шестеренчатой передачей отличаются тем, что вместо червяка и червячного колеса в них имеется система зубчатых колес, заключенных в коробку. Шестеренчатые тали легче червячных и их чаще применяют при ремонтах.
К каждой тали прикреплена металлическая табличка с указанием завода-изготовителя, грузоподъемности, заводского номера и даты очередного испытания.
Перед каждым подъемом предельного по массе груза таль осматривают, обязательно проверяют работу тормоза и устраняют обнаруженные неисправности. Безопасность работы с талями в основном зависит от исправности тормозного устройства рабочей цепи и рабочей звездочки.
Для ремонта оборудования в котельных цехах используют мостовые и козловые краны. Над котламиобычно устанавливают мостовые краны с двумя грузовыми тележками. Грузоподъемность большой тележки 30–50 т, малой – 5–10 т. Скорость подъема грузов лебедками, установленными на малой тележке, больше по сравнению с лебедками основной тележки. Подъем грузов и перемещение тележек вдоль фермы крана не зависят друг от друга.
Для ремонта дымососов и дутьевых вентиляторов используют мостовые или козловые краны грузоподъемностью 10–20 т. Для монтажа и ремонта циклонов, сепараторов и пылепроводов краны устанавливают на верхнем перекрытии бункерной этажерки.
Для такелажных работ вне зоны установки постоянных кранов используют передвижные краны – автомобильные и гусеничные.
Канаты при такелажных работах применяют для оснастки кранов, лебедок и полиспастов, крепления грузоподъемных устройств и оборудования, обвязки грузов и для оттяжек. Канаты, применяемые для подъема грузов, называются грузовыми, подъема стрел кранов – стреловыми, расчалки (раскрепления) монтажных стрел и мачт – вантовыми, обвязки грузов и крепления их к крюкам – чалочными. В соответствии с назначением к каждой конструкции каната предъявляют особые требования. Канаты бывают пеньковые и стальные.
Пеньковые канаты служат для обвязки, подъема и оттяжки грузов с небольшой массой и подразделяются на смольные и бельные. Смольные канаты тяжелее бельных на 15–20 % и менее прочны примерно на 10 %, но они лучше противостоят воздействию воды и сырости, срок их службы значительно больше. Однако чаще применяют бельные канаты.
При ремонтных работах пеньковые канаты используют для подъема кипятильных и экранных труб, змеевиков пароперегревателей и экономайзеров, трубопроводной арматуры, обмуровочных и теплоизоляционных материалов. Достоинствами пеньковых канатов являются их малая масса, гибкость и быстрота вязки узлов. Каждый канат состоит из трех-четырех свитых прядей, которые в свою очередь свиты из отдельных шнуров, а шнуры – из волокон пеньки.
Стальные канаты, применяемые для монтажных работ, свивают обычно из шести прядей с одним сердечником из пенькового волокна. Пряди в свою очередь свивают из различного количества проволок в зависимости от назначения каната. Сердечник способствует смягчению неравномерной нагрузки, увеличивает гибкость каната и улучшает условия смазки проволок.
Гибкость каната зависит главным образом от числа проволок и их диаметра. При одном и том же диаметре более гибким будет тот канат, у которого свито в прядь больше проволок и, следовательно, меньше их диаметр. Канаты выбирают по таблицам в зависимости от их назначения и допускаемой нагрузки.
Расчалки стрел, мачт и других устройств (вантовые канаты) мало подвергаются изгибу и поэтому изготовляются из относительно жесткого каната, состоящего из шести прядей по 19 проволок. Грузовые канаты изгибаются при огибании роликов блоков и барабана лебедки и изготовляются из более гибкого каната, состоящего из шести прядей по 37 проволок. Наиболее гибкими должны быть канаты, применяемые для обвязки грузов и крепления их к крюку. Поэтому чалочные канаты и стропы изготовляют обычно из тросов, состоящих из шести прядей по 61 проволоке.
Допускаемая нагрузка на канат определяется по разрывному усилию и коэффициенту запаса прочности. Разрывное усилие каната приведено в таблицах, а также в сертификате, прикладываемом на заводе-изготовителе к каждому канату. В сертификате указана конструкция каната и результаты заводских испытаний, а также его действительное разрывное усилие. Кроме того, к каждому канату прикреплена бирка с указанием его диаметра и разрывного усилия.
Стропы – отрезки канатов, концы которых заделаны коушами или петлями, применяют для застроповки или зачалки (обвязки) грузов и крепления их к крюку блока.
В ремонтной практике применяют одинарные стропы, одинарные стропы с одной петлей, двумя петлями и кольцевые (рис. 2.10, а – г).Наиболее удобны одинарные стропы с двумя петлями и кольцевые, позволяющие осуществлять быструю застроповку груза без вязки узлов.
Рис. 2.10. Типыстропов:
а – одинарный, б – одинарный с одной петлей, в – одинарный с двумя петлями, г – кольцевой
Петли одинарного стропа и кольцевой строп изготовляют, вплетая пряди каната. В петли стропов устанавливают коуши, более просто изготовить стропы с коушами, заделанными с помощью зажимов (рис. 2.11, а). Кроме того, можно крепить стропы шланговым узлом (рис. 2.11, б). При диаметре каната до 21,5 мм устанавливают не менее трех зажимов, при 22–28 мм – не менее четырех, выше 30 мм – не менее пяти. Расстояния между зажимами и от последнего зажима до короткого конца каната должны быть равны пяти – семи диаметрам каната.
Рис. 2.11. Изготовление петли одинарного стропа коушом и зажимами (а),шланговым узлом (б).
Диаметр стропа выбирают в зависимости от массы груза, числа ветвей стропа, их наклона к вертикали и прочностной характеристики каната, из которого сделан строп.
Застроповка грузов является ответственной операцией, поручаемой при монтаже оборудования опытным рабочим – стропальщикам. Слесарю-ремонтнику также нужно хорошо усвоить способы вязки канатов в узлы и петли. Каждое крепление должно быть надежным при перемещении груза и в то же время легко сниматься после окончания работы. Чтобы узлы не развязывались самопроизвольно, длина свободного конца каната должна составлять не менее 15 его диаметров. Узлы туго затягивают, вставляя в петли куски дерева. Оснастку стальных канатов производят коушами, зажимами и талрепами.
Желобчатую проушину, изготовленную из стальной полосы толщиной 2–3 мм, вокруг которой огибают и закрепляют конец каната, называют коушами. Коушами снабжают концы канатов, предназначенных для увязки грузов и крепления их к крюку. Коуши предохраняют канаты от раскрутки и преждевременного износа и увеличивают срок их службы.
Зажимы применяют для крепления короткого конца стального каната после завязки узла, конца каната к блоку полиспаста, при установке коуша.
Винтовая стяжка, предназначенная для натяжения каната, называется талрепом. Талрепы применяют для натяжения расчалок монтажных стрел, мачт и в вантах дымовых труб.






