В цикл строительства скважины входят
В цикл строительства скважины входят:
- подготовительные работы;
- монтаж вышки и оборудования;
- подготовка к бурению;
- процесс бурения;
- крепление скважины обсадными трубами и ее тампонаж;
- вскрытие пласта и испытание на приток нефти и газа.
В ходе подготовительных работ выбирают место для буровой, прокладывают подъездную дорогу, подводят системы электроснабжения, водоснабжения и связи. Если рельеф местности неровный, то планируют площадку.
Монтаж вышки и оборудования производится в соответствии с принятой для данных конкретных условий схемой их размещения. Оборудование стараются разместить так, чтобы обеспечить безопасность в работе, удобство в обслуживании, низкую стоимость строительно-монтажных работ и компактность в расположении всех элементов буровой.
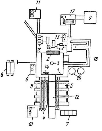
В общем случае (рис. 24) в центре буровой вышки 1 располагают ротор 3, а рядом с ним — лебедку 2. За ней находятся буровые насосы 19, силовой привод 18, площадка горюче-смазочных материалов 11, площадка для хранения глинопорошка и химреагентов 9 и глиномешалка 17. С противоположной стороны от лебедки находится стеллаж мелкого инструмента 14, стеллажи 5 для укладки бурильных труб 4, приемные мостки 12, площадка отработанных долот 7 и площадка ловильного инструмента 10 (его используют для ликвидации аварий). Кроме того, вокруг буровой размещаются хозяйственная будка 8, инструментальная площадка 6, очистная система 15 для использованного бурового раствора и запасные емкости 16 для хранения бурового раствора, химических реагентов и воды.
Рис. 24. Типовая схема размещения оборудования,
инструмента, запасных частей и материалов на буровой:
1 — буровая вышка; 2 — лебедка; 3 — ротор; 4 — бурильные трубы;
5 — стеллажи; 6 — инструментальная площадка; 7 — площадка отработанных
долот; 8 — хозяйственная будка; 9 — площадка глинохозяйства; 10 — площадка
ловильного инструмента; 11 — площадка горюче-смазочных материалов;
12 — приемные мостки; 13 — верстак слесаря; 14 — стеллаж легкого инструмента;
15 — очистная система; 16 — запасные емкости; 17 — глиномешалка;
18 — силовой привод; 19 — насосы
Различают следующие методы монтажа буровых установок: поагрегатный, мелкоблочный и крупноблочный.
При поагрегатном методе буровая установка собирается из отдельных агрегатов, для доставки которых используется автомобильный, железнодорожный или воздушный транспорт.
При мелкоблочном методе буровая установка собирается из 16. 20 мелких блоков. Каждый из них представляет собой основание, на котором смонтированы один или несколько узлов установки.
При крупноблочном методе установка монтируется из 2. 4 блоков, каждый из которых объединяет несколько агрегатов и узлов буровой.
Блочные методы обеспечивают высокие темпы монтажа буровых установок и качество монтажных работ. Размеры блоков зависят от способа, условий и дальности их транспортировки.
После этого последовательно монтируют талевый блок с кронблоком, вертлюг и ведущую трубу, присоединяют к вертлюгу напорный рукав. Далее проверяют отцентрированность вышки: ее центр должен совпадать с центром ротора.
Подготовка к бурению включает устройство направления I (рис. 1) и пробный пуск буровой установки.
Рис. 1. Конструкция скважины:
1 — обсадные трубы; 2 — цементный камень; 3 — пласт;
4 — перфорация в обсадной трубе ицементном камне;
I — направление; II — кондуктор; III — промежуточная колонна;
IV — эксплуатационная колонна.
Назначение направления описано выше. Его верхний конец соединяют с очистной системой, предназначенной для очистки от шлама бурового раствора, поступающего из скважины, и последующей подачи его в приемные резервуары буровых насосов.
Затем бурится шурф для ведущей трубы и в него спускают обсадные трубы.
Буровая комплектуется долотами, бурильными трубами, ручным и вспомогательным инструментом, горюче-смазочными материалами, запасом воды, глины и химических реагентов. Кроме того, недалеко от буровой располагаются помещение для отдыха и приема пищи, сушилка для спецодежды и помещение для проведения анализов бурового раствора.
В ходе пробного бурения проверяется работоспособность всех элементов и узлов буровой установки.
Процесс бурения начинают, привинтив первоначально к ведущей трубе квадратного сечения долото. Вращая ротор, передают через ведущую трубу вращение долоту.
Во время бурения происходит непрерывный спуск (подача) бурильного инструмента таким образом, чтобы часть веса его нижней части передавалась на долото для обеспечения эффективного разрушения породы.
В процессе бурения скважина постепенно углубляется. После того как ведущая труба вся уйдет в скважину, необходимо нарастить колонну бурильных труб. Наращивание выполняется следующим образом. Сначала останавливают промывку. Далее бурильный инструмент поднимают из скважины настолько, чтобы ведущая труба полностью вышла из ротора. При помощи пневматического клинового захвата инструмент подвешивают на роторе. Далее ведущую трубу отвинчивают от колонны бурильных труб и вместе с вертлюгом спускают в шурф — слегка наклонную скважину глубиной 15. 16 м, располагаемую в углу буровой. После этого крюк отсоединяют от вертлюга, подвешивают на крюке очередную, заранее подготовленную трубу, соединяют ее с колонной бурильных труб, подвешенной на роторе, снимают колонну с ротора, опускают ее в скважину и вновь подвешивают на роторе. Подъемный крюк снова соединяют с вертлюгом и поднимают его с ведущей трубой из шурфа. Ведущую трубу соединяют с колонной бурильных труб, снимают последнюю с ротора, включают буровой насос и осторожно доводят долото до забоя. После этого бурение продолжают.
При бурении долото постепенно изнашивается и возникает необходимость в его замене. Для этого бурильный инструмент, как и при наращивании, поднимают на высоту, равную длине ведущей трубы, подвешивают на роторе, отсоединяют ведущую трубу от колонны и спускают ее с вертлюгом в шурф. Затем поднимают колонну бурильных труб на высоту, равную длине бурильной свечи, подвешивают колонну на роторе, свечу отсоединяют от колонны и нижний конец ее устанавливают па специальную площадку — подсвечник, а верхний -на специальный кронштейн, называемый пальцем. В такой последовательности поднимают из скважины все свечи. После этого заменяют долото и начинают спуск бурильного инструмента. Этот процесс осуществляется в порядке, обратном подъему бурильного инструмента из скважины.
Крепление скважины обсадными трубами и ее тампонаж осуществляются согласно схемы, приведенной на рис. 1. Целью тампонажа затрубного пространства обсадных колонн является разобщение продуктивных пластов.
Хотя в процессе бурения продуктивные пласты уже были вскрыты, их изолировали обсадными трубами и тампонированием, чтобы проникновение нефти и газа в скважину не мешало дальнейшему бурению. После завершения проходки для обеспечения притока нефти и газа продуктивные пласты вскрывают вторично перфорационным способом. После этого скважину осваивают, т.е. вызывают приток в нее нефти и газа. Для чего уменьшают давление бурового раствора на забой одним из следующих способов:
- промывка — замена бурового раствора, заполняющего ствол скважины после бурения, более легкой жидкостью — водой или нефтью;
- поршневание (свабирование) — снижение уровня жидкости в скважине путем спуска в насосно-компрессорные трубы и подъема на стальном канате специального поршня (сваба). Поршень имеет клапан, который открывается при спуске и пропускает через себя жидкость, заполняющую НКТ. При подъеме же клапан закрывается, и весь столб жидкости, находящийся над поршнем, выносится на поверхность.
От использовавшихся прежде способов уменьшения давления бурового раствора на забой, продавливания сжатым газом и аэрации (насыщения раствора газом) в настоящее время отказались по соображениям безопасности.
Таким образом, освоение скважины в зависимости от конкретных условий может занимать от нескольких часов до нескольких месяцев.
После появления нефти и газа скважину принимают эксплуатационники, а вышку передвигают на несколько метров для бурения очередной скважины куста или перетаскивают на следующий куст.
Цикл строительства скважины
В цикл строительства скважины входят:
1) подготовительные работы;
2) монтаж вышки и оборудования;
3) подготовка к бурению;
5) крепление скважины обсадными трубами и ее тампонаж;
6) вскрытие пласта и испытание на приток нефти и газа.
В ходе подготовительных работвыбирают место для буровой, прокладывают подъездную дорогу, подводят системы электроснабжения, водоснабжения и связи. Если рельеф местности неровный, то планируют площадку.
Монтаж вышки и оборудованияпроизводится в соответствии с принятой для данных конкретных условий схемой их размещения. Оборудование стараются разместить так, чтобы обеспечить безопасность в работе, удобство в обслуживании, низкую стоимость строительно-монтажных работ и компактность в расположении всех элементов буровой.
В общем случае (рис. 6.24) в центре буровой вышки 1 располагают ротор 3, а рядом с ним — лебедку 2. За ней находятся буровые насосы 19, силовой привод 18, площадка горюче-смазочных материалов 11, площадка для хранения глинопорошка и химреагентов 9 и глиномешалка 17. С противоположной стороны от лебедки находится стеллаж мелкого инструмента 14, стеллажи 5 для укладки бурильных труб 4, приемные мостки 12, площадка отработанных долот 7 и площадка ловильного инструмента 10 (его используют для ликвидации аварий). Кроме того, вокруг буровой размещаются хозяйственная будка 8, инструментальная площадка 6, очистная система 15 для использованного бурового раствора и запасные емкости 16 для хранения бурового раствора, химических реагентов и воды.
![]() | Рис. 6.23 Компоновка бурильной колонны: 1 — ствол вертлюга; 2 — левая восьминиточная резьба; 3 — переводник вертлюга; 4 — левая замковая резьба; 5 — переводник штанговый верхний(ПШВ); 6 — ведущая труба; 7 — правая восьминиточная резьба; 8 — переводник штанговый нижний (ПШН); 9 — правая замковая резьба; 10 — переводник предохранительный (ПБП); 11 — замковая резьба; 12 — замковая муфта; 13 -восьминиточная резьба; 14 — бурильная труба длиной 6 м; 15 — соединительная муфта; 16 — ниппель замка; 17 — предохранительное кольцо; 18 — утяжеленные бурильные трубы (УБТ); 19 — переводник двухмуфтовый (ПБМ); 20 — центратор; 21 -переводник переходный; 22 — наддолотная утяжеленная бурильная труба; 23 — долото |
![]() | Рис. 6.24 Типовая схема размещения оборудования, инструмента, запасных частей и материалов на буровой: 1 — буровая вышка; 2 — лебедка; 3 — ротор; 4 — бурильные трубы; 5 — стеллажи; 6 — инструментальная площадка; 7 — площадка отработанных долот; 8 — хозяйственная будка; 9 — площадка глинохозяйства; 10 — площадка ловильного инструмента; 11 — площадка горюче-смазочных материалов; 12 — приемные мостки; 13 — верстак слесаря; 14 — стеллаж легкого инструмента; 15 — очистная система; 16 — запасные емкости; 17 — глиномешалка; 18 — силовой привод; 19 — насосы |
Различают следующие методы монтажа буровых установок: поагрегатный, мелкоблочный и крупноблочный.
При поагрегатном методе буровая установка собирается из отдельных агрегатов, для доставки которых используется автомобильный, железнодорожный или воздушный транспорт.
При мелкоблочном методе буровая установка собирается из 16. 20 мелких блоков. Каждый из них представляет собой основание, на котором смонтированы один или несколько узлов установки.
При крупноблочном методе установка монтируется из 2. 4 блоков, каждый из которых объединяет несколько агрегатов и узлов буровой.
Блочные методы обеспечивают высокие темпы монтажа буровых установок и качество монтажных работ. Размеры блоков зависят от способа, условий и дальности их транспортировки.
После этого последовательно монтируют талевый блок с крон-блоком, вертлюг и ведущую трубу, присоединяют к вертлюгу напорный рукав. Далее проверяют отцентрировашюсть вышки: ее центр должен совпадать с центром ротора.
Подготовка к бурению включает устройство направления I (рис. 6.1) и пробный пуск буровой установки.
Назначение направления описано выше. Его верхний конец соединяют с очистной системой, предназначенной для очистки от шлама бурового раствора, поступающего из скважины, и последующей подачи его в приемные резервуары буровых насосов.
Затем бурится шурф для ведущей трубы и в него спускают обсадные трубы.
Буровая комплектуется долотами, бурильными трубами, ручным и вспомогательным инструментом, горюче-смазочными материалами, запасом воды, глины и химических реагентов. Кроме того, недалеко от буровой располагаются помещение для отдыха и приема пищи, сушилка для спецодежды и помещение для проведения анализов бурового раствора.
В ходе пробного бурения проверяется работоспособность всех элементов и узлов буровой установки.
Процесс буренияначинают, привинтив первоначально к ведущей трубе квадратного сечения долото. Вращая ротор, передают через ведущую трубу вращение долоту.
Во время бурения происходит непрерывный спуск (подача) бурильного инструмента таким образом, чтобы часть веса его нижней части передавалась на долото для обеспечения эффективного разрушения породы.
В процессе бурения скважина постепенно углубляется. После того как ведущая труба вся уйдет в скважину, необходимо нарастить колонну бурильных труб. Наращивание выполняется следующим образом. Сначала останавливают промывку. Далее бурильный инструмент поднимают из скважины настолько, чтобы ведущая труба полностью вышла из ротора. При помощи пневматического клинового захвата инструмент подвешивают на роторе. Далее ведущую трубу отвинчивают от колонны бурильных труб и вместе с вертлюгом спускают в шурф — слегка наклонную скважину глубиной 15. 16 м, располагаемую в углу буровой. После этого крюк отсоединяют от вертлюга, подвешивают на крюке очередную, заранее подготовленную трубу, соединяют ее с колонной бурильных труб, подвешенной на роторе, снимают колонну с ротора, опускают ее в скважину и вновь подвешивают на роторе. Подъемный крюк снова соединяют с вертлюгом и поднимают его с ведущей трубой из шурфа. Ведущую трубу соединяют с колонной бурильных труб, снимают последнюю с ротора, включают буровой насос и осторожно доводят долото до забоя. После этого бурение продолжают.
При бурении долото постепенно изнашивается и возникает необходимость в его замене. Для этого бурильный инструмент, как и при наращивании, поднимают на высоту, равную длине ведущей трубы, подвешивают на роторе, отсоединяют ведущую трубу от колонны и спускают ее с вертлюгом в шурф. Затем поднимают колонну бурильных труб на высоту, равную длине бурильной свечи, подвешивают колонну на роторе, свечу отсоединяют от колонны и нижний конец ее устанавливают на специальную площадку — подсвечник, а верхний -на специальный кронштейн, называемый пальцем. В такой последовательности поднимают из скважины все свечи. После этого заменяют долото и начинают спуск бурильного инструмента. Этот процесс осуществляется в порядке, обратном подъему бурильного инструмента из скважины.
Крепление скважины обсадными трубами и ее тампонажосуществляются согласно схемы, приведенной на рис. 6.1. Целью тампонажа затрубного пространства обсадных колонн является разобщение продуктивных пластов.
Хотя в процессе бурения продуктивные пласты уже были вскрыты, их изолировали обсадными трубами и тампонированием, чтобы проникновение нефти и газа в скважину не мешало дальнейшему бурению. После завершения проходки для обеспечения притока нефти и газа продуктивные пласты вскрывают вторичноперфорационным способом. После этого скважину осваивают,т.е. вызывают приток в нее нефти и газа. Для чего уменьшают давление бурового раствора на забой одним из следующих способов:
1) промывка— замена бурового раствора, заполняющего ствол скважины после бурения, более легкой жидкостью — водой или нефтью;
2) поршневание(свабирование) — снижение уровня жидкости в скважине путем спуска в насосно-компрессорные трубы и подъема на стальном канате специального поршня (сваба). Поршень имеет клапан, который открывается при спуске и пропускает через себя жидкость, заполняющую НКТ. При подъеме же клапан закрывается, и весь столб жидкости, находящийся над поршнем, выносится на поверхность.
От использовавшихся прежде способов уменьшения давления бурового раствора на забой, продавливания сжатым газом и аэрации (насыщения раствора газом) в настоящее время отказались по соображениям безопасности.
Таким образом, освоение скважины в зависимости от конкретных условий может занимать от нескольких часов до нескольких месяцев.
После появления нефти и газа скважину принимают эксплуатационники, а вышку передвигают на несколько метров для бурения очередной скважины куста или перетаскивают на следующий куст.
Дата добавления: 2014-10-15 ; Просмотров: 269 ; Нарушение авторских прав?
Нам важно ваше мнение! Был ли полезен опубликованный материал? Да | Нет




